

Преобразователь расхода Эмир-Прамер 550
Преобразователи расхода электромагнитные Эмир-Прамер 550 предназначены для преобразования объемного расхода и объема жидких сред в прямом и обратном (при заказе прибора соответствующей модификации) направлении потока в наполненных трубопроводах в выходной электрический сигнал и трансляции его на внешние устройства-вычислители (тепловычислители).
Область применения расходомеров Эмир-Прамер 550 – в различных отраслях промышленности и коммунальном хозяйстве. Преобразователи могут быть использованы в системах горячего и холодного водоснабжения, в централизованных системах питьевого водоснабжения и на объектах пищевой промышленности, а также для контроля других сред, не агрессивных к материалам его проточной части и соответствующих его техническим характеристикам
Отличительные особенности Эмир-Прамер 550
Преобразователь Эмир-Прамер серии 550 имеет ряд преимуществ по сравнению с другими электромагнитными расходомерами:
- Новый современный дизайн. Укороченная стойка, обтекаемый кожух, усовершенствованное полимерное покрытие прибора повышает защиту от воздействия факторов окружающей среды и улучшает восприятие.
- Защита от образования конденсата. Корпус полностью защищен от образования конденсата влаги внутри, что обеспечивает надежную работоспособность при использовании в системах холодного водоснабжения.
- Наглядная индикация режимов. Прозрачная крышка и удобный интерфейс позволяет быстро и удобно проводить диагностику.
- Надежная защита от помех. Металлический кожух обеспечивает высокую помехозащищённость, что позволяет получать достоверные результаты измерений в условиях неблагоприятной электромагнитной обстановки.
- Антивандальное исполнение защитного кожуха. Углеродистая сталь надежно защищает магнитную систему от несанкционированного вмешательства.
- Гарантийный срок эксплуатации 8 лет. Многолетний анализ информации о поломках и отказах приборов позволил сделать статистически обоснованные выводы об их высокой работоспособности и надежности. Эта информация, а также постоянная конструктивная и технологическая модернизация приборов позволили заводу -изготовителю принять решение об установлении гарантийного срока эксплуатации в восемь лет.
- Динамический диапазон до 1/1000.
- Погрешность до ±1% во всём диапазоне расходов.
- Возможность измерения реверсивного потока.
- Наличие функций самодиагностики преобразователя.
- Блок питания для преобразователя расхода входит в комплектацию.
Метрологические характеристики
Минимальные (Q min), переходные (Qt1 и Qt2) и наибольшие (Qmax) значения измеряемых объемных расходов в зависимости от Ду и класса преобразователя (динамического диапазона воспроизводимых расходов (Qmin/Qmax)):
| Ду, мм |
Значение расхода, м3/ч | ||||||||||||
|---|---|---|---|---|---|---|---|---|---|---|---|---|---|
| Класс А (1:100) |
Класс В (1:250) |
Класс С (1:500) |
|||||||||||
| Qmin | Qmax | Qmin | Qt1 | Qmax | Qmin | Qt2 | Qt1 | Qmax | |||||
| 15 | 0,06 | 6 | 0,024 | 0,06 | 6 | 0,012 | 0,024 | 0,06 | 6 | ||||
| 25 | 0,16 | 16 | 0,064 | 0,16 | 16 | 0,032 | 0,064 | 0,16 | 16 | ||||
| 32 | 0,25 | 25 | 0,100 | 0,25 | 25 | 0,050 | 0,100 | 0,25 | 25 | ||||
| 40 | 0,4 | 40 | 0,160 | 0,40 | 40 | 0,080 | 0,160 | 0,40 | 40 | ||||
| 50 | 0,6 | 60 | 0,240 | 0,60 | 60 | 0,120 | 0,240 | 0,60 | 60 | ||||
| 65 | 1,0 | 100 | 0,400 | 1,00 | 100 | 0,200 | 0,400 | 1,00 | 100 | ||||
| 80 | 1,6 | 160 | 0,640 | 1,60 | 160 | 0,320 | 0,640 | 1,60 | 160 | ||||
| 100 | 2,5 | 250 | 1,000 | 2,50 | 250 | 0,500 | 1,000 | 2,50 | 250 | ||||
| 150 | 6,0 | 600 | 2,400 | 6,00 | 600 | 1,200 | 2,400 | 6,00 | 600 | ||||
| Ду, мм |
Значение расхода, м3/ч | ||||||||||||
|---|---|---|---|---|---|---|---|---|---|---|---|---|---|
| Класс D, E (1:1000) |
|||||||||||||
| Qmin | Qt2 | Qt1 | Qmax | ||||||||||
| 15 | 0,006 | 0,024 | 0,06 | 6 | |||||||||
| 25 | 0,016 | 0,064 | 0,16 | 16 | |||||||||
| 32 | 0,025 | 0,100 | 0,25 | 25 | |||||||||
| 40 | 0,040 | 0,160 | 0,40 | 40 | |||||||||
| 50 | 0,060 | 0,240 | 0,60 | 60 | |||||||||
| 65 | 0,100 | 0,400 | 1,00 | 100 | |||||||||
| 80 | 0,160 | 0,640 | 1,60 | 160 | |||||||||
| 100 | 0,250 | 1,000 | 2,50 | 250 | |||||||||
| 150 | 0,600 | 2,400 | 6,00 | 600 | |||||||||
Параметры контролируемой жидкости:
| Диапазон температур, °С | от 1 до 150 |
| Давление избыточное, МПа | не более 1,6 или 2,5 |
| Ионная проводимость | от 10-3 до 10 см/м |
Пределы допускаемых относительных погрешностей при преобразовании объема и объемного расхода в выходной электрический сигнал в зависимости от класса преобразователя (динамического диапазона воспроизводимых расходов (Qmin/Qmax)), %:
| для преобразователей Эмир-Прамер 550 класса А (1:100): | |
| от Qmax до Qmin | ±1 |
| для преобразователей Эмир-Прамер 550 класса В (1:250): | |
| от Qmax до Qt1 | ±1 |
| от Qt1 до Qmin | ±2 |
| для преобразователей Эмир-Прамер 550 класса C (1:500): | |
| от Qmax до Qt1 | ±1 |
| от Qt1 до Qt2 | ±2 |
| от Qt2 до Qmin | ±5 |
| для преобразователей Эмир-Прамер 550 класса D (1:1000): | |
| от Qmax до Qt1 | ±1 |
| от Qt1 до Qt2 | ±2 |
| от Qt2 до Qmin | ±5 |
| для преобразователей Эмир-Прамер 550 класса Е (1:1000): | |
| от Qmax до Qmin | ±1 |
Эксплуатационные характеристики
| Рабочие условия эксплуатации | Значение |
|---|---|
| Выходное стабилизированное напряжение постоянного тока (питание): | 12 (±0,5)В |
| Ток коммутируемой нагрузки | не менее 400 мА |
| Потребляемая мощность | не более 6 Вт |
| Группа исполнения по ГОСТ Р 52931-2008 по устойчивости к механическим воздействиям | L1 |
| Степень защиты по ГОСТ 14254-96 | IP65 |
| Средняя наработка на отказ | не менее 75000ч |
| Среднее время восстановления работоспособного состояния | не более 4 ч |
| Средний срок службы | не менее 15 лет |
| Межповерочный интервал | 4 года |
| Гарантийный срок | 8 лет |
Принцип действия электромагнитного расходомера
Принцип действия электромагнитных преобразователей расхода жидкостей основан на явлении электромагнитной индукции. При прохождении электропроводящей жидкости через импульсное магнитное поле в ней наводится электродвижущая сила (ЭДС), пропорциональная скорости потока, а значит и объемному расходу. ЭДС воспринимается электродами и подается на ЭП, который выполняет ее усиление, обработку и преобразование в импульсный выходной электрический сигнал, частота которого пропорциональна расходу.
Конструкция и исполнения расходомера
Первичный преобразователь представляет собой отрезок трубы, выполненный из немагнитной стали, с узлами крепления, внутренняя поверхность которого футерована электроизоляционным материалом – фторопластом Ф4 ТУ 6-05-1937-82. Внутри проточной части через узлы герметизации введены диаметрально противоположно два электрода из нержавеющей стали 12Х18Н10Т или титанового сплава ВТ1-0 ГОСТ 19807, которые предназначены для съема сигнала и соединены с ЭП. На внешней стороне трубы диаметрально противоположно друг другу расположены две катушки индуктора, предназначенного для создания магнитного поля в потоке измеряемой жидкости. Конструкция преобразователя обеспечивает защиту элементов от воздействия окружающей среды и конденсата. На внешней стороне стенки кожуха расположена стойка, на которой закреплен ЭП, выполненный в стальном или пластиковом корпусе.
Первичный преобразователь соединяется с трубопроводом с помощью токопроводов. Для крепления токопроводов на фланцах преобразователя предусмотрены резьбовые отверстия. Такие же отверстия должны быть на ответных фланцах трубопровода. Корпус ЭП состоит из основания, лицевой и тыльной крышек. Каждая крышка присоединена к основанию четырьмя винтами. Основание корпуса разделено на две части перегородкой. В полости между лицевой крышкой и перегородкой расположена плата ЭП. На плате находится колодка клеммная, предназначенная для подключения источника питания и вторичного прибора. На плате около колодки клеммной размещен светодиодный индикатор, предназначенный для контроля работоспособности преобразователя при пуско-наладочных работах. Режимы индикации светодиода указаны на наклейке на тыльной крышке корпуса. Контроль за работой светодиодного индикатора осуществляется через прозрачную тыльную крышку прибора.

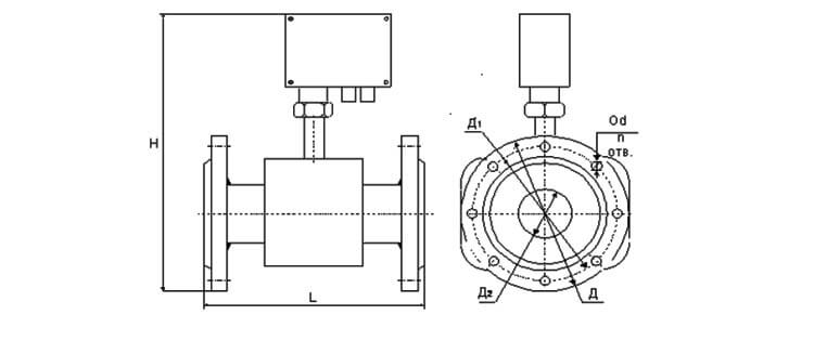
Расходомер Эмир-Прамер 550 фланцевого исполнения:

| Ду | L ,мм* | H ,мм | Д, мм | Д1, мм | Д2, мм | d ,мм | n, отв. | Масса, кг |
|---|---|---|---|---|---|---|---|---|
| 15 | 155 | 248 | 95 | 65 | 15±0,4 | 14 | 4 | 2,4 |
| 25 | 155 | 265 | 115 | 85 | 24,7±0,4 | 14 | 4 | 3,6 |
| 32 | 180 | 281 | 135 | 100 | 32,4±0,5 | 18 | 4 | 5,2 |
| 40 | 200 | 287 | 145 | 110 | 40±0,6 | 18 | 4 | 6,2 |
| 50 | 200 | 312 | 160 | 125 | 50,3±0,7 | 18 | 4 | 7,7 |
| 65 | 230 | 347 | 180 | 145 | 64,1±0,8 | 18 | 8 | 9,3 |
| 80 | 230 | 349 | 195 | 160 | 85,6±1,0 | 18 | 8 | 12,4 |
| 100 | 250 | 382 | 230 | 190 | 100,3±1,5 | 22 | 8 | 18,1 |
| 150 | 320 | 422 | 300 | 250 | 143±1,8 | 26 | 8 | 32,5 |
| * - Допустимые отклонения от указанных значений, определяемые технологией фторопластовой футеровки преобразователей, не более ± 4 мм. | ||||||||




